1 范圍
本標準規定了鋼制壓力容器用乙型平焊法蘭的結構型式與系列尺寸。
本標準適用于公稱壓力為0.25?4.0MPa工作溫度高于一 20?350℃的鋼制壓力容器乙型平焊法蘭。
本標準適用腐蝕裕量小于等于2mm。當腐蝕裕量為3mm時,應加厚短節厚度2mm。
2 引用標準
下列標準所包含的條文,通過在本標準中引用而構成為本標準的條文。本標準出版時,所示版本均為有效。所有標準都會被修訂,使用本標準的各方應探討使用下列標準版本的可能性。
JB/T4700—2000 壓力容器法蘭分類與技術條件
JB/T4704—2000 非金屬軟墊片
JB/T4705—2000 纏繞墊片
JB/T14706—2000 金屬包墊片
JB/T4707—2000 等長雙頭螺柱
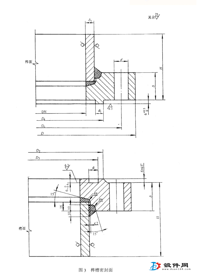
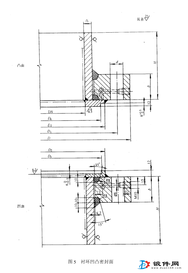
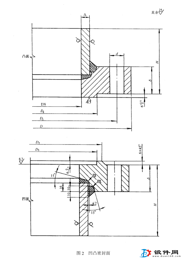
3 結構型式與尺寸
各類密封面的乙型平焊法蘭的結構型式及系列尺寸應符合圖1?圖6和表1的規定,法蘭及襯環的質量列于表2。
4 選用規定
4.1法蘭及相匹配的墊片、螺柱、螺母的材料、允許工作壓力、技術條件及其標記按JB/T4700的規定。
4.2法蘭用非金屬軟墊片、纏繞墊片、金屬包墊片應分別符合JB/T4704、JB/T4705、JB/T4706的規定。
4.3法蘭用等長雙頭螺柱應符合JB/T4707的規定。
4.4為適應腐蝕裕量要求加厚的短節厚度應在圖樣明細表的備注欄中注明





乙型平焊法蘭




